Subaru: Κατέθεσε πατέντα που αλλάζει το κάμπερ εν κινήσει
Κάποτε η Subaru πρωτοπορούσε σε νέες τεχνολογίες. Τώρα ετοιμάζει κάτι ριζοσπαστικό στον τομέα της ανάρτησης
Newsroom | email: info@pronews.gr
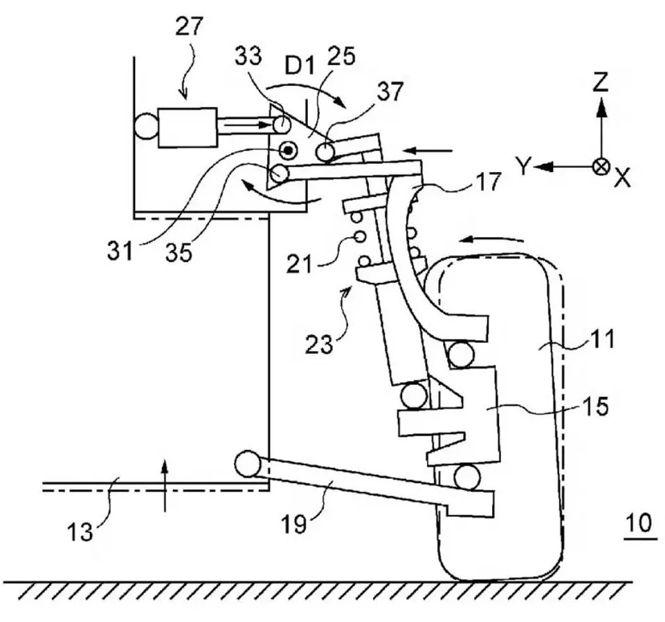
Η Subaru έχει κατοχυρώσει πατέντα που προβλέπει σαρωτικές αλλαγές στον τομέα του στησίματος. Επιτρέποντας όχι μόνο τη ρύθμιση του ύψους σε πραγματικό χρόνο, αλλά και του κάμπερ των τροχών -ενώ το αυτοκίνητο βρίσκεται εν κινήσει.
Η πατέντα εισάγει έναν επιπλέον σύνδεσμο πάνω από το επάνω ψαλίδι, ο οποίος καθώς το αμορτισέρ συμπιέζεται ή εκτείνεται, επιτρέπει τη μεταβολή του ύψους από το έδαφος και την αλλαγή της γωνίας κάμπερ.
Καθώς ενεργοποιείται, ο σύνδεσμος περιστρέφεται και τραβάει το πάνω μέρος της ανάρτησης προς τα μέσα. Με αποτέλεσμα να δίνει αρνητικό κάμπερ και να χαμηλώνει το κέντρο βάρους.
Το σύστημα θα βελτιώνει την οδική συμπεριφορά, αφού το σωστό κάμπερ επιτρέπει σε όλο το πέλμα του ελαστικού να πατά στο οδόστρωμα. Αξίζει να σημειωθεί ότι προφανώς δεν θα υπάρχουν αρνητικές επιπτώσεις στην άνεση που προσφέρει η ανάρτηση.
Όταν το αυτοκίνητο κινείται στο χώμα ή στην καθημερινή χρήση, το σύστημα θα απενεργοποιείται και θα αυξάνει την απόσταση από το έδαφος. Και βέβαια, αν ο αγοραστής ενστερνίζεται την κουλτούρα της βελτίωσης, το χαμήλωμα και το έξτρα «καμπέρωμα» θα του προσφέρουν επιπλέον «στιλιστικές επιλογές» για εκείνες τις στιγμές που θέλει το κάτι παραπάνω σε εμφάνιση.
Για να γίνει αυτό, θα πρέπει να ξεπεράσει κάμποσες δυσκολίες. Να διασφαλίσει την αξιοπιστία και τη μεγάλη διάρκεια ζωής του συστήματος. Αλλά και να βρει τρόπους να περιορίσει το κόστος, ώστε να μην αυξάνει υπέρμετρα την τιμή αγοράς.
Φυσικά, δεν είναι η πρώτη φορά που η Subaru πρωτοπορεί στο θέμα του στησίματος. Πριν 34 χρόνια, το καταπληκτικό SVX ενσωμάτωνε μια μορφή παθητικής τετραδιεύθυνσης.
Η πίσω ανάρτηση είχε ρυθμιστεί ώστε υπό πίεση να αλλάζει η σύγκλιση των πίσω τροχών. Δεν υπήρχε μηχανισμός, ούτε ηλεκτρονικό σύστημα -μόνο ιαπωνική ευστροφία.
Tο pronews.gr δημοσιεύει κάθε σχόλιο το οποίο είναι σχετικό με το θέμα στο οποίο αναφέρεται το άρθρο. Ο καθένας έχει το δικαίωμα να εκφράζει ελεύθερα τις απόψεις του. Ωστόσο, αυτό δεν σημαίνει ότι υιοθετούμε τις απόψεις αυτές και διατηρούμε το δικαίωμα να μην δημοσιεύουμε συκοφαντικά ή υβριστικά σχόλια όπου τα εντοπίζουμε. Σε κάθε περίπτωση ο καθένας φέρει την ευθύνη των όσων γράφει και το pronews.gr ουδεμία νομική ή άλλα ευθύνη φέρει.
Δικαίωμα συμμετοχής στη συζήτηση έχουν μόνο όσοι έχουν επιβεβαιώσει το email τους στην υπηρεσία disqus. Εάν δεν έχετε ήδη επιβεβαιώσει το email σας, μπορείτε να ζητήσετε να σας αποσταλεί νέο email επιβεβαίωσης από το disqus.com
Όποιος χρήστης της πλατφόρμας του disqus.com ενδιαφέρεται να αναλάβει διαχείριση (moderating) των σχολίων στα άρθρα του pronews.gr σε εθελοντική βάση, μπορεί να στείλει τα στοιχεία του και στοιχεία επικοινωνίας στο info3@pronews.gr και θα εξεταστεί άμεσα η υποψηφιότητά του.
Tο pronews.gr δημοσιεύει κάθε σχόλιο το οποίο είναι σχετικό με το θέμα στο οποίο αναφέρεται το άρθρο. Ο καθένας έχει το δικαίωμα να εκφράζει ελεύθερα τις απόψεις του. Ωστόσο, αυτό δεν σημαίνει ότι υιοθετούμε τις απόψεις αυτές και διατηρούμε το δικαίωμα να μην δημοσιεύουμε συκοφαντικά ή υβριστικά σχόλια όπου τα εντοπίζουμε. Σε κάθε περίπτωση ο καθένας φέρει την ευθύνη των όσων γράφει και το pronews.gr ουδεμία νομική ή άλλα ευθύνη φέρει.
Δικαίωμα συμμετοχής στη συζήτηση έχουν μόνο όσοι έχουν επιβεβαιώσει το email τους στην υπηρεσία disqus. Εάν δεν έχετε ήδη επιβεβαιώσει το email σας, μπορείτε να ζητήσετε να σας αποσταλεί νέο email επιβεβαίωσης από το disqus.com
Όποιος χρήστης της πλατφόρμας του disqus.com ενδιαφέρεται να αναλάβει διαχείριση (moderating) των σχολίων στα άρθρα του pronews.gr σε εθελοντική βάση, μπορεί να στείλει τα στοιχεία του και στοιχεία επικοινωνίας στο info3@pronews.gr και θα εξεταστεί άμεσα η υποψηφιότητά του.