
Χειροκίνητος λεβιές σε ηλεκτρικό αυτοκίνητο; Κι όμως, διαβάσατε σωστά! Αλλά ποιος θα ήταν ο σκοπός του; Η Ford έχει φανταστεί μια λύση πλήρως ψηφιακή.
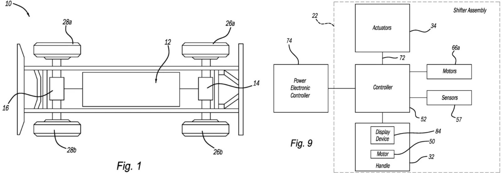
Σύμφωνα με την περιγραφή του εγγράφου που δημοσιεύτηκε στο Free Patents Online, ο λεβιές δεν θα συνδέεται με κανένα μηχανικό στοιχείο μετάδοσης, σε αντίθεση με ένα πραγματικό χειροκίνητο κιβώτιο.
Στην πράξη, ο συγκεκριμένος λεβιές θα λειτουργεί περισσότερο ως ηλεκτρονική διεπαφή, ικανή να προσομοιώνει διαφορετικές αλληλεπιδράσεις με το αυτοκίνητο, όπως η μεταβολή της απόκρισης του ηλεκτροκινητήρα ή η αλλαγή ορισμένων παραμέτρων οδήγησης. Πίσω από αυτήν την πατέντα για έναν «ψεύτικο λεβιέ ταχυτήτων» κρύβεται και μια λογική βιομηχανικής απλοποίησης.

Όπως και άλλοι κατασκευαστές πριν από αυτήν -με χαρακτηριστικό παράδειγμα τη Hyundai και το Ioniq 5N– ο κατασκευαστής από το Dearborn φαίνεται να επιδιώκει την αναβίωση μιας αίσθησης μηχανικής εμπλοκής στην οδήγηση. 
Ωστόσο, η ιδέα διχάζει: κάποιοι τη βλέπουν ως έναν τρόπο διατήρησης της οδηγικής απόλαυσης, ενώ άλλοι θεωρούν τεχνητό τον χαρακτήρα μιας τέτοιας τεχνολογίας. Το μόνο βέβαιο προς το παρόν είναι ότι πρόκειται απλώς για ένα δίπλωμα ευρεσιτεχνίας -μια ιδέα που ενδέχεται και να μη φτάσει ποτέ στην παραγωγή.
Tο pronews.gr δημοσιεύει κάθε σχόλιο το οποίο είναι σχετικό με το θέμα στο οποίο αναφέρεται το άρθρο. Ο καθένας έχει το δικαίωμα να εκφράζει ελεύθερα τις απόψεις του. Ωστόσο, αυτό δεν σημαίνει ότι υιοθετούμε τις απόψεις αυτές και διατηρούμε το δικαίωμα να μην δημοσιεύουμε συκοφαντικά ή υβριστικά σχόλια όπου τα εντοπίζουμε. Σε κάθε περίπτωση ο καθένας φέρει την ευθύνη των όσων γράφει και το pronews.gr ουδεμία νομική ή άλλα ευθύνη φέρει.
Δικαίωμα συμμετοχής στη συζήτηση έχουν μόνο όσοι έχουν επιβεβαιώσει το email τους στην υπηρεσία disqus. Εάν δεν έχετε ήδη επιβεβαιώσει το email σας, μπορείτε να ζητήσετε να σας αποσταλεί νέο email επιβεβαίωσης από το disqus.com
Όποιος χρήστης της πλατφόρμας του disqus.com ενδιαφέρεται να αναλάβει διαχείριση (moderating) των σχολίων στα άρθρα του pronews.gr σε εθελοντική βάση, μπορεί να στείλει τα στοιχεία του και στοιχεία επικοινωνίας στο info3@pronews.gr και θα εξεταστεί άμεσα η υποψηφιότητά του.