
Η Tesla φαίνεται πως θέλει να προσθέσει ακόμη ένα τεχνολογικό επίπεδο στα αυτοκίνητά της. Ένα πρόσφατο δίπλωμα ευρεσιτεχνίας, που εντόπισε το Electrek, περιγράφει μια «διαφανή στις ραδιοσυχνότητες συναρμολόγηση οροφής οχήματος». Για Starlink;
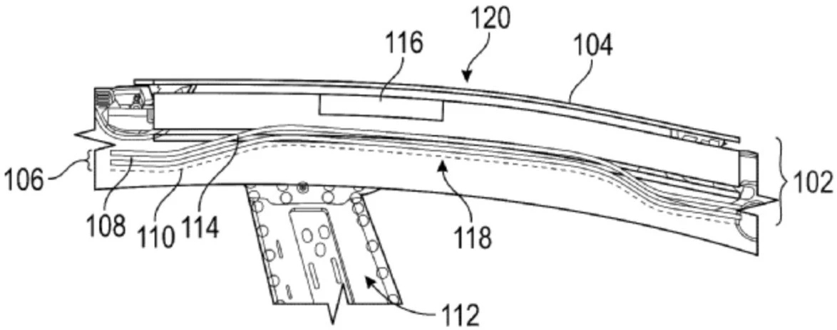
Με μια τέτοια λύση, στόχος είναι να αντιμετωπιστεί ένα γνωστό πρόβλημα. Τα κλασικά υλικά που χρησιμοποιούνται στην αυτοκινητοβιομηχανία, όπως το επεξεργασμένο γυαλί ή το μέταλλο, εξασθενούν σημαντικά τα δορυφορικά σήματα, καθιστώντας δύσκολη την ενσωμάτωση κεραιών στο εσωτερικό του αυτοκινήτου. Για να το αλλάξει αυτό, η Tesla προτείνει τη χρήση ειδικών πολυμερών, όπως το πολυκαρβονικό ή το ASA (ακρυλονιτρίλιο στυρένιο ακρυλικό), τα οποία επιτρέπουν τη διέλευση ραδιοκυμάτων χωρίς να θυσιάζεται η ακαμψία της οροφής. 
Η πολυστρωματική αυτή αρχιτεκτονική θα επέτρεπε την πλήρη απόκρυψη μιας κεραίας μέσα στη δομή του αυτοκινήτου, χωρίς ορατά στοιχεία ή εξωτερικές προσθήκες. Αν και το δίπλωμα ευρεσιτεχνίας δεν αναφέρει συγκεκριμένη υπηρεσία, η σύνδεση με το Starlink είναι προφανής. Το δορυφορικό δίκτυο της SpaceX -εταιρείας που επίσης ελέγχεται από τον Elon Musk- προσφέρει σύνδεση υψηλών ταχυτήτων και χαμηλής καθυστέρησης, ακόμη και σε περιοχές με ελλιπή κάλυψη κινητής τηλεφωνίας.
Μια τέτοια τεχνολογία θα επέτρεπε σε ένα Tesla να εναλλάσσεται απρόσκοπτα μεταξύ 5G και δικτύου Starlink, ανάλογα με την κάλυψη, εξασφαλίζοντας αξιόπιστη σύνδεση σε κάθε συνθήκη. Ορισμένοι χρήστες έχουν ήδη πειραματιστεί με φορητές κεραίες Starlink σε αυτοκίνητα, κυρίως για περιστασιακή χρήση εκτός δικτύου, αλλά με αυτοσχέδιες λύσεις. Ωστόσο, το πραγματικό όφελος μιας τέτοιας τεχνολογίας περιορίζεται σε συγκεκριμένα σενάρια. Τα αυτοκίνητα δεν χρειάζονται μόνιμη δορυφορική σύνδεση για να λειτουργούν, ενώ η αυτόνομη οδήγηση δεν μπορεί να βασιστεί σε εξωτερική συνδεσιμότητα, η οποία θεωρείται αβέβαιη. Παρ’ όλα αυτά, θα μπορούσε να αποδειχθεί χρήσιμη για οδηγούς που κινούνται συχνά σε απομονωμένες περιοχές. Ανοιχτό παραμένει και το οικονομικό σκέλος. Σήμερα, η Tesla καλύπτει μέρος του κόστους της κυψελωτής συνδεσιμότητας. Μια ενσωματωμένη λύση που θα βασίζεται σε εσωτερική υποδομή ενδέχεται μακροπρόθεσμα να αλλάξει αυτή την ισορροπία. Προς το παρόν, πάντως, το δίπλωμα ευρεσιτεχνίας δεν προδικάζει ούτε άμεση εμπορική αξιοποίηση ούτε μαζική εφαρμογή.
Tο pronews.gr δημοσιεύει κάθε σχόλιο το οποίο είναι σχετικό με το θέμα στο οποίο αναφέρεται το άρθρο. Ο καθένας έχει το δικαίωμα να εκφράζει ελεύθερα τις απόψεις του. Ωστόσο, αυτό δεν σημαίνει ότι υιοθετούμε τις απόψεις αυτές και διατηρούμε το δικαίωμα να μην δημοσιεύουμε συκοφαντικά ή υβριστικά σχόλια όπου τα εντοπίζουμε. Σε κάθε περίπτωση ο καθένας φέρει την ευθύνη των όσων γράφει και το pronews.gr ουδεμία νομική ή άλλα ευθύνη φέρει.
Δικαίωμα συμμετοχής στη συζήτηση έχουν μόνο όσοι έχουν επιβεβαιώσει το email τους στην υπηρεσία disqus. Εάν δεν έχετε ήδη επιβεβαιώσει το email σας, μπορείτε να ζητήσετε να σας αποσταλεί νέο email επιβεβαίωσης από το disqus.com
Όποιος χρήστης της πλατφόρμας του disqus.com ενδιαφέρεται να αναλάβει διαχείριση (moderating) των σχολίων στα άρθρα του pronews.gr σε εθελοντική βάση, μπορεί να στείλει τα στοιχεία του και στοιχεία επικοινωνίας στο info3@pronews.gr και θα εξεταστεί άμεσα η υποψηφιότητά του.